Силовые трансформаторы с номинальным напряжением на стороне ВН 27,5 кВ (железнодорожные).
ТМЖ-25/27,5 - ТМЖ-400/27,5 - Кентауский трансформаторный завод
1 февраля, 2012
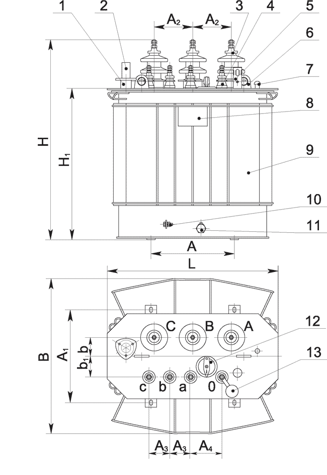
Трехфазный силовой масляный трансформатор ТМЖ с естественным охлаждением применяется для изменения электрической энергии 3-х фазного переменного тока и напряжением 27,5 кВ в энергию переменного тока с напряжением 0,4 кВ для снабжения электропитанием железнодорожного оборудования. Изготовлен данный трансформатор ОАО «Кентауский трансформаторный завод», в соответствии с требованиями ГОСТ и ТУ.
...ОМЖ-2,5/27,5 - ОМЖ-10/27,5 - Кентауский трансформаторный завод
1 февраля, 2012
Трансформатор силовой, производства ОАО «Кентауский трансформаторный завод», естественного охлаждения масляного типа ОМЖ. Данное электрооборудование предназначается для преобразования однофазного переменного тока напряжением 27,5 кВ в однофазный переменный ток напряжение 220 в. Трансформатор изготавливается соответственно требованиям ТУ 659 РК 0001 0033-14-95.
Эксплуатационные условия
Данный...ОМ - УЗТТ
19 января, 2012
Предназначение понижающих однофазных силовых масляных трансформаторов ОМ, производства ТД Уральский Завод Трансформаторных Технологий (УЗТТ), – преобразование электрической энергии с напряжением от 6-ти до 10-ти кВ, а так же обеспечение бесперебойного питания сигнализационной и автоблокировочной аппаратуры, используемой на железнодорожном транспорте, а так же другими энергопотребителями напряжением...ТМЖ - УЗТТ
19 января, 2012
Силовые, маслонаполненные трансформаторы ТМЖ, производства ТД Уральский Завод Трансформаторных Технологий (УЗТТ), номинальной мощностью от 25 до 630 кВА используются для питания электрического оборудования железных дорог, которые работают на переменном токе. Силовые трансформаторы с номинальным высоким напряжением 27.5 кВ и низким - 0.4 кВ.
Обмотки НН алюминиевые, ВН намотаны медным проводом.
Вводы...ТМЖ - Укрэлектроаппарат
12 января, 2012
Силовые масляные понижающие трехфазные двухобмоточные трансформаторы ТМЖ, производства ПАО Укрэлектроаппарат, мощностью от 25 до 2500 кВА для питания электрооборудования железных дорог, электрифицированных на переменном токе.
Технические характеристики
Силовые трансформаторы ТМЖ выпускаются с номинальным напряжением первичной обмотки (высокого напряжения) 27.5 кВ и вторичной обмотки...ОМЖ - Укрэлектроаппарат
12 января, 2012
Соответствуют стандартам МЭК-76, ГОСТ 11677
Трансформаторы однофазные масляные двухобмоточные серии ОМЖ класса напряжения до 27 кВ силовые понижающие с естественным масляным охлаждением, производства ПАО Укрэлектроаппарат, включаемые в сеть переменного тока частотой 50 Гц, предназначены для преобразования электроэнергии в сетях энергосистем.
Трансформатор состоит из активной части,...ТМЖ - ЧЭТ
8 января, 2012
Трехфазные железнодорожные масляные трансформаторы типа ТМЖ, общего назначения, производства "Чебоксарский электрозавод Трансформатор". Напряжение 27,5 и 35 кВ, мощность 400 кВА.
Трехфазные железнодорожные трансформаторы масляные с естественным охлаждением предназначены для использования в электрооборудовании железных дорог, функционирующем на переменном токе, частота сети 50 Гц...ТМЖ - ЭТК БирЗСТ
28 октября, 2011
Трансформаторы ТМЖ - трехфазные двухобмоточные с естественным масляным охлаждением с переключением без возбуждения, включаемые в сеть переменного тока частотой 50 Гц, производства ОАО "Электротехническая компания "Биробиджанский завод силовых трансформаторов", предназначены для преобразования электроэнергии (понижения или повышения напряжения) в сетях энергосистем и...ОМЖ - ЭТК БирЗСТ
28 октября, 2011
Трансформаторы ОМЖ - однофазные с естественным масляным охлаждением, производства ОАО "Электротехническая компания "Биробиджанский завод силовых трансформаторов", предназначены для питания аппаратуры и сигнализации и автоблокировок от контактной сети 27,5 кВ на железных дорогах, а также для питания различных потребителей в сетях переменного тока частотой 50 Гц.
Эти трансформаторы...АОМЖ-16000/27х2-У1 - Тольяттинский Трансформатор
24 сентября, 2011
АОМЖ-16000/27х2-У1 - автотрансформатор для электрификации железных дорог, без регулирования напряжения, с системой охлаждения вида "М", производства Тольяттинский Трансформатор.
Бак трансформатора 4. Радиатор
Расширитель 5. Фильтр термосифонный
Ввод ВН ...ТМЖ - ЧТЗ
19 мая, 2011
Трансформаторы силовые с ПБВ на стороне ВН типа ТМЖ трехфазные, двухобмоточные, масляные, железнодорожные, с естественным охлаждением, с диапазоном регулирования ±5%, предназначены для преобразования напряжения в сетях 27,5 кВ. Изготавливаются для стран с умеренным климатом с перепадом температур от минус 45 до плюс 40°С.
Магнитопровод трехстержневой плоскошихтованый, изготовлен из высококачественной...Трансформаторы тяговых подстанций
12 января, 2011
Для питания ЭПС однофазным переменным током напряжением 27,5 кВ на тяговых подстанциях могут быть использованы однофазные и трехфазные понижающие трансформаторы. Однофазные трансформаторы нашли применение только при электрификации железных дорог по системе электроснабжения 2 х 25 кВ.
Трехфазные трехобмоточные трансформаторы типа ТДТНЖ (трехфазный, с дутьевым охлаждением, трехобмоточный, с регулированием...ТМГ - МЭТЗ
4 июня, 2010
Трехфазные масляные трансформаторы ТМГ, производства Минского электротехнического завода, предназначены для преобразования электроэнергии в сетях энергосистем и потребителей электроэнергии в условиях наружной или внутренней установки умеренного (от плюс 40 до минус 45 °С ) или холодного (от плюс 40 до минус 60 °С ) климата. Окружающая среда невзрывоопасная, не содержащая пыли в концентрациях,...ОМГ-10/27,5-У1 - МЭТЗ
22 мая, 2010
Трансформаторы однофазные ОМГ-10/27,5-У1, производства Минского электротехнического завода, предназначены для преобразования электроэнергии в сетях энергосистем, питания электрооборудования железных дорог и других однофазных потребителей электроэнергии на напряжение 27,5 кВ.
Трансформаторы предназначены для работы в условиях умеренного (от плюс 40 до минус 45 °С), холодного или умеренно-холодного...ОМ-2,5/27,5-У1 и ОМ-4/27,5-У1 - МЭТЗ
21 мая, 2010
Трансформаторы однофазные ОМ-2,5/27,5-У1 и ОМ-4/27,5-У1, производства Минского электротехнического завода, предназначены для преобразования электроэнергии в сетях энергосистем, питания электрооборудования железных дорог и других однофазных потребителей электроэнергии на напряжение 27,5 кВ.
Трансформаторы предназначены для работы в условиях умеренного (от плюс 40 до минус 45 °С), холодного...






























