Силовые трансформаторы с номинальным напряжением на стороне ВН 15 кВ.
ТРДНС, ТДНС - Запорожтрансформатор
18 января, 2012
ПАО «Запорожтрансформатор» (ЗТР) изготавливает для собственных потребностей генераторные трансформаторы ТРДНС, ТДНС (для подключения к генераторам электростанций) и пуско-резервные, подключаемые к сети высокого напряжения,...ТМН, ТМ, ТД, ТСЗ 6-20 кВ - Запорожтрансформатор
18 января, 2012
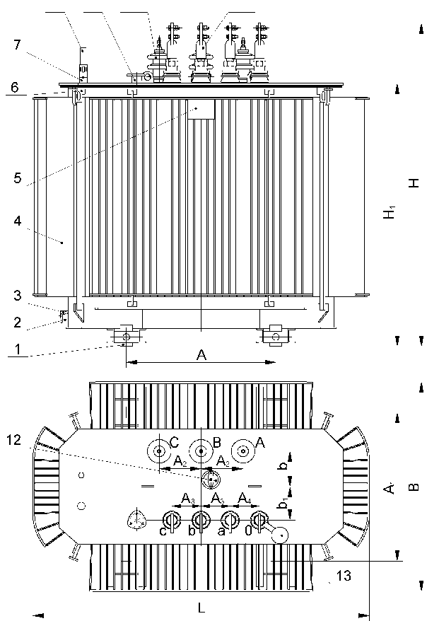
ТМН, ТМ, ТД, ТСЗ - трансформаторы силовые понижающие с высшим напряжением 6-20 кВ для подстанций распределительных электрических сетей и промышленных предприятий, производства ПАО «Запорожтрансформатор» (ЗТР).
Технические...ТМГ - Укрэлектроаппарат
12 января, 2012
Трансформаторы силовые типа ТМГ соответствуют стандартам МЭК - 76, ГОСТ 11677. Силовые масляные понижающие трехфазные двухобмоточные общего назначения трансформаторы мощностью от 10 до 2500 кВА напряжением до 35 кВ,...ТМ - Укрэлектроаппарат
12 января, 2012
Трансформаторы силовые типа ТМ соответствуют стандартам МЭК-76, ГОСТ 11677
Силовые масляные понижающие трехфазные двухобмоточные общего назначения трансформаторы мощностью от 10 до 6300 кВА напряжением до 35 кВ, производства...ТМГ 12 - МЭТЗ
4 июня, 2010
Трансформаторы ТМГ 12, выпускаемые УП "МЭТЗ ИМ. В.И. КОЗЛОВА", мощностью 400 … 1250 кВА Уровень потерь холостого хода и короткого замыкания в данной серии трансформаторов установлен в соответствии с рекомендациями...ТМГ11 - МЭТЗ
4 июня, 2010
Трехфазные масляные трансформаторы ТМГ11, производства Минского электротехнического завода, предназначены для преобразования электроэнергии в сетях энергосистем и потребителей электроэнергии в условиях наружной...

















